Час читання: < 1 хв.
Apple зареєструвала патент під назвою “Електронні пристрої з розширеними можливостями введення-виведення”. У ньому компанія описує нову версію миші Magic Mouse, яка замість натискань та прокручування керуватиметься за допомогою безконтактних жестів.
Згідно з проектною документацією, Apple оснастить мишу набором датчиків, розміщених на бічній межі корпусу. З їх допомогою пристрій зможе відстежувати рухи пальців користувача на відстані. Спосіб керування Magic Mouse буде схожим на гарнітуру Apple Vision Pro.
Реклама 1 з 2
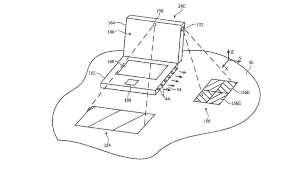
Крім того, у документі згадується проекційна технологія для виведення на різні поверхні додаткових елементів інтерфейсу: наприклад, віртуальної клавіатури. Основна увага приділяється використанню цієї функції у миші, але компанія розглядає її застосування і в інших пристроях: ноутбуках, моніторах, планшетах та навіть предметах меблів.
Зазначається, що жестове керування буде миші лише допоміжним способом введення. Зараз ідея перебуває на стадії патенту — чи її колись реалізують у комерційному пристрої, невідомо.




